Двухвальная печь
Двухвальная печь
Двухвальная печь

Двухвальная печь

Двухвальная печь представляет собой самую передовую технологию производства извести, доступную на сегодняшний день. Она работает путем чередования процесса прокаливания между двумя соединенными между собой валами, производя известь с высокой реакционной способностью и превосходным качеством, которая отвечает требованиям большинства пользователей рынка. Кроме того, ее способность использовать несколько видов топлива делает ее широко пригодной для крупных предприятий по производству извести.

Приложения: Средние и крупные заводы по производству извести с жесткими требованиями к качеству.

1.Высокая тепловая эффективность и низкое энергопотребление:

Благодаря конструкции, основанной на «поочередном обжиге + утилизации отработанного тепла», тепловой КПД достигает 75–85 %, что значительно превышает показатели вертикальных печей с однократным нагревом (50–60 %); расход топлива на единицу продукции низкий. На примере прокаливания извести расход топлива на тонну активной извести составляет всего 80-120 м³ (природный газ) или 120-150 кг (пылевидный уголь), что на 20-30% ниже, чем у одноступенчатых вертикальных печей.

2.Отличные экологические показатели, выбросы соответствуют стандартам:

Использует двухступенчатую систему очистки «циклонный пылесборник + рукавный фильтр», обеспечивающую концентрацию выбросов пыли ≤10 мг/м³, что значительно ниже национального стандарта выбросов (30 мг/м³); низкотемпературный воздух для горения и конструкция с коротким пламенем во время горения обеспечивают концентрацию выбросов NOx ≤300 мг/м³, что соответствует стандартам без необходимости использования дополнительного оборудования для денитрификации.

3.Высокая адаптивность, стабильное качество продукции:

Может перерабатывать различные виды сырья (известняк, доломит, магнезит и т. д.) с широким диапазоном размеров частиц сырья (20-80 мм) и высокой устойчивостью к колебаниям состава сырья (колебания содержания CaCO₃ в пределах ±5% не влияют на качество готовой продукции). Режим чередующегося обжига обеспечивает равномерное температурное поле внутри печи (разница температур ≤50℃), что приводит к высокой активности готовой продукции (активность извести ≥300 мл/4N-HCl), низкому уровню недожига/пережига (≤5%) и превосходной стабильности качества по сравнению с вращающимися печами (уровень недожига/пережига ≤8%).

4.Небольшая занимаемая площадь и низкие инвестиционные затраты:

30-50% площади пола по сравнению с вращающейся печью той же мощности (например, линия по производству извести мощностью 300 тонн в сутки требует примерно 800 м²), что позволяет сократить инвестиции в строительство на 20-30%.
Оборудование имеет простую конструкцию (без сложных компонентов трансмиссии), что приводит к снижению стоимости покупки на 40–50 % по сравнению с вращающейся печью, а также к сокращению сроков установки (3–4 месяца), что делает его подходящим для быстрого развертывания производства малыми и средними предприятиями.

5.Стабильная работа и низкие затраты на обслуживание:

Режим чередующегося работы исключает зоны постоянной высокой температуры, продлевая срок службы футеровки печи (огнеупорного кирпича) до 3-5 лет, что значительно превышает срок службы вращающихся печей (1-2 года); основные компоненты (реверсивные клапаны, горелки) имеют низкий уровень отказов, а годовое время работы превышает 8000 часов.

Принцип работы

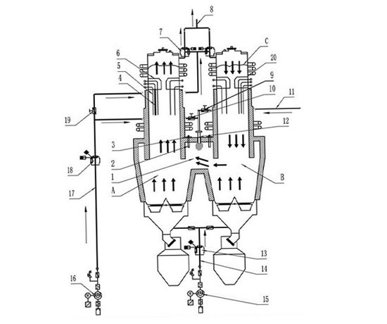
Двухвальная печь обжигает известняк с помощью двух камер. Валы A и B соединены в нижней части зоны обжига, и материал движется вниз через оба вала. Во время обжига в валу A воздух для горения и топливо движутся параллельно материалу в валу A, позволяя горячему пламени вступать в контакт с более холодным, высокоэндотермическим материалом. И наоборот, относительно более низкотемпературные продукты сгорания взаимодействуют с постепенно прокаливаемым материалом, обеспечивая равномерные условия прокаливания и высокую тепловую эффективность. Продукты сгорания и CO₂, выделяющиеся при разложении материала, проходят через соединительный канал в шахту B. На этом этапе шахта B действует как регенеративная камера, где известняк внутри поглощает тепло от выхлопных газов, а выхлопные газы охлаждаются до относительно низкой температуры. Материал аккумулирует тепло, которое затем используется для предварительного нагрева воздуха для горения в следующем цикле. В этой конфигурации шахта A служит шахтой сгорания, отражая характеристику параллельного потока, а шахта B функционирует как регенеративная шахта с теплоаккумулирующими свойствами. В следующем цикле роли меняются: шахта A становится регенеративной камерой, а шахта B — шахтой сгорания. Это обеспечивает непрерывное кальцинирование известняка.


СВЯЗАННОЕ ДЕЛО

Запросить расценки

*
*
*
*
*
*
*

Авторское право © LIMING MACHINERY CO., LTD. Все права защищены. Политика конфиденциальности